ປະ​ເພດ​ຄຳ​ຮ້ອງ
Industrial Designs
ປະ​ເພດ​ຄຳ​ຮ້ອງຍ່ອຍ
Industrial Design
(10) ເລກທີ ແລະ ວັນທີການຈົດທະບຽນ
I/660 02.01.2025
ສະຖານະ
Registered
(180) ມື້​ໝົດ​ອາຍຸ
08.07.2029
(20) ​ເລກທີ ​ແລະ ມື້ ຍື່ນ​ຄຳ​ຮ້ອງ
LA I/660 08.07.2024
(40) ​ເລກທີ ​ແລະ ວັນ​ທີ​ເຜີຍ​ແຜ່
I/660
03.01.2025
I/660
03.01.2025
I/660
03.01.2025
I/660
03.01.2025
I/660
03.01.2025
I/660
03.01.2025
I/660
03.01.2025
(30) ລາຍລະອຽດບຸລິມະສິດ
(51/52) ການຈັດໝວດ
(74) ຊຶ່ບໍລິສັດຕົວແທນ
(LA) Tilleke & Gibbins Lao Co., Ltd. : No. 302/1B, 3rd Floor, Vieng Vang Tower, Unit 15, Boulichan Road, Dongpalan Thong Village, Sisattanak District,
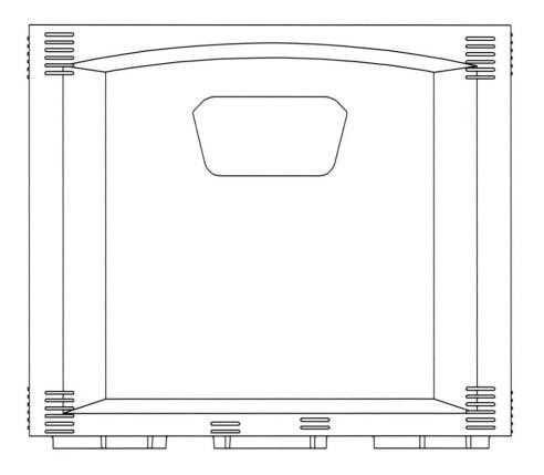
(54) ຫົວ​ຂໍ້​ແບບ​ອຸດສາຫະກຳ
(LA) Long Neck Bottle Crate
(EN) Long Neck Bottle Crate
ບົດສັງເຂບ
(55) ລັກສະນະຂອງແບບອຸດສາຫະກໍາ
(56) ການ​ຮຽກຮ້ອງ​ແບບ​ອຸດສາຫະກຳ
ການ​ຮຽກຮ້ອງອະທິບາຍ
ປະເພດຂອງເອກະສານ ວັນທີ ການດໍາເນີນການ
ຊື່ຂອງລາຍການວັນ​ທີສະຖານະ
Filing08.07.2024Filed
Registration02.01.2025Registered