ປະ​ເພດ​ຄຳ​ຮ້ອງ
Petty Patent
ປະ​ເພດ​ຄຳ​ຮ້ອງຍ່ອຍ
Petty Patent
(10) ເລກທີ ແລະ ວັນທີການຈົດທະບຽນ
24.11.2022
ສະຖານະ
Registered
(180) ມື້​ໝົດ​ອາຍຸ
09.04.2030
(20) ​ເລກທີ ​ແລະ ມື້ ຍື່ນ​ຄຳ​ຮ້ອງ
LA E/68 09.04.2020
(40) ​ເລກທີ ​ແລະ ວັນ​ທີ​ເຜີຍ​ແຜ່
LA E/68
25.11.2022
(86) ເລກທີ ແລະ ວັນທີ ເອກະສານ PCT
(87) and Date ເລກທີ ແລະ ວັນທີ່ ເຜີຍແຜ່ PCT
(85) ວັນ​ທີເອກະສານ​ເຂົ້າ
(30) ລາຍລະອຽດບຸລິມະສິດ
TW 108208526
01.07.2019
(51) ການຈັດ​ໝວດ​ໝູ່ IPC
(71/73) ຜູ້​ຍື່ນ​ຄຳ​ຮ້ອງ
(72) ຜູ້​ປະດິດສ້າງ
(LA) CHEN, KUO SHU : NO.9, SHIN HWA RD., TAOYUAN, TAIWAN
(LA) CHIN, YU CHENG : NO.9, SHIN HWA RD., TAOYUAN, TAIWAN
(74) ຊຶ່ບໍລິສັດຕົວແທນ
(54) ຫົວຂໍ້
(LA) FLEXIBLE FLAT CABLE STRUCTURE
(57) ບົດສັງເຂບ
(LA)

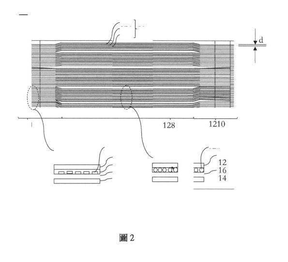
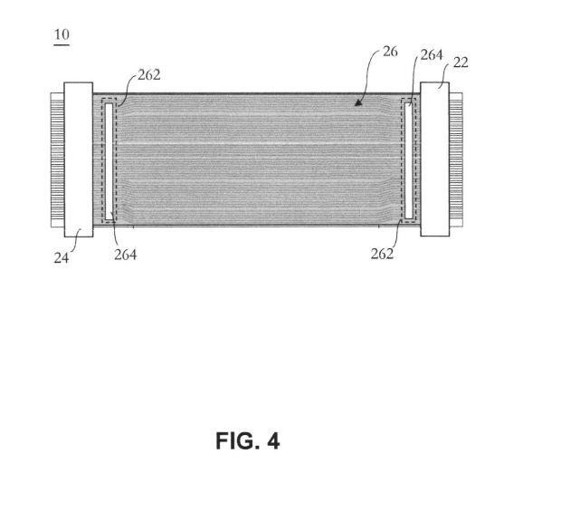
The present invention discloses a flexible flat cable structure comprising a conductor layer, a first composite mate al layer, a first insulating rubber layer, a second insulating rubber layer and a reinforcing plate. After the conductor layer, the first composite material layer, the first insulating rubber layer and the second insulating rubber layer are combined, the plurality of strips are divided into a plurality of strips, and each strip provides a plurality of wires, and the first end and the second end of the wires are exposed from the second insulating rubber layer.

(58) ການ​ຮຽກຮ້ອງ
ປະເພດຂອງເອກະສານ ວັນທີ ການດໍາເນີນການ
ຊື່ຂອງລາຍການວັນ​ທີສະຖານະ
Filing09.04.2020Filed
Registration24.11.2022Registered
Publication25.11.2022Published