ປະ​ເພດ​ຄຳ​ຮ້ອງ
Petty Patent
ປະ​ເພດ​ຄຳ​ຮ້ອງຍ່ອຍ
Petty Patent
(10) ເລກທີ ແລະ ວັນທີການຈົດທະບຽນ
03.10.2022
ສະຖານະ
Registered
(180) ມື້​ໝົດ​ອາຍຸ
28.06.2031
(20) ​ເລກທີ ​ແລະ ມື້ ຍື່ນ​ຄຳ​ຮ້ອງ
LA E/77 28.06.2021
(40) ​ເລກທີ ​ແລະ ວັນ​ທີ​ເຜີຍ​ແຜ່
LA E/77
07.10.2022
(86) ເລກທີ ແລະ ວັນທີ ເອກະສານ PCT
(87) and Date ເລກທີ ແລະ ວັນທີ່ ເຜີຍແຜ່ PCT
(85) ວັນ​ທີເອກະສານ​ເຂົ້າ
(30) ລາຍລະອຽດບຸລິມະສິດ
TH 1803002684
19.11.2018
TH PCT/2019/000059
15.11.2019
(51) ການຈັດ​ໝວດ​ໝູ່ IPC
(74) ຊຶ່ບໍລິສັດຕົວແທນ
(LA) Tilleke & Gibbins International Ltd : No. 302/1B, 3rd Floor, Vieng Vang Tower, Unit 15, Boulichan Road, Dongpalan Thong Village, Sisattanak District, Vientiane Capital, Lao PDR
(54) ຫົວຂໍ້
(LA) ROUND-BOTTOM TUBE WITH A TRIPLE-LOCK STOPPER
(57) ບົດສັງເຂບ
(LA)

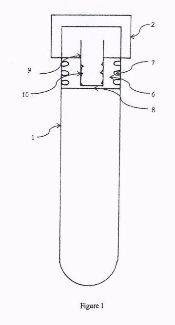
The present invention ofthe round-bottom tube with a triple-lock stopper is a round-bottom test tube with an open end at the top and a closed end at the bottom, containing a removable stopper. The top ofthe tube has outer ridges for a screw cap and inner ridges for a removable tripleJock 5 stopper. The cylinder-shaped stopper features outer threads that mesh with the inner ridges ofthe round-bottom tube for a secure seal. Moreover, the triple-lock stopper contains an axial hole at its top end. The axial hole on the tripleJock stopper fits a hollow plastic rod with two open ends. The top end ofthe plastic rod has a rectangle shape with no inner ridges that fits a luer-lok tip syringe whereas the bottom end of the plastic rod has a trapezoid shape with inner ridges that fit a slip tip  syringe.

(58) ການ​ຮຽກຮ້ອງ
ປະເພດຂອງເອກະສານ ວັນທີ ການດໍາເນີນການ
ຊື່ຂອງລາຍການວັນ​ທີສະຖານະ
Filing28.06.2021Filed
Registration03.10.2022Registered
Publication07.10.2022Published