ປະ​ເພດ​ຄຳ​ຮ້ອງ
Petty Patent
ປະ​ເພດ​ຄຳ​ຮ້ອງຍ່ອຍ
Petty Patent
(10) ເລກທີ ແລະ ວັນທີການຈົດທະບຽນ
24.02.2023
ສະຖານະ
Registered
(180) ມື້​ໝົດ​ອາຍຸ
28.06.2031
(20) ​ເລກທີ ​ແລະ ມື້ ຍື່ນ​ຄຳ​ຮ້ອງ
LA E/78 28.06.2021
(40) ​ເລກທີ ​ແລະ ວັນ​ທີ​ເຜີຍ​ແຜ່
LA E/78
24.02.2023
(86) ເລກທີ ແລະ ວັນທີ ເອກະສານ PCT
(87) and Date ເລກທີ ແລະ ວັນທີ່ ເຜີຍແຜ່ PCT
(85) ວັນ​ທີເອກະສານ​ເຂົ້າ
(30) ລາຍລະອຽດບຸລິມະສິດ
TH PCT/2019/000060
19.11.2018
(51) ການຈັດ​ໝວດ​ໝູ່ IPC
(74) ຊຶ່ບໍລິສັດຕົວແທນ
(LA) Tilleke & Gibbins Lao Co., Ltd : No. 302/1B, 3rd Floor, Vieng Vang Tower, Unit 15, Boulichan Road, Dongpalan Thong Village, Sisattanak District, Vientiane Capital, Lao PDR
(54) ຫົວຂໍ້
(LA) ALL-IN-ONE INJECTABLE TUBE
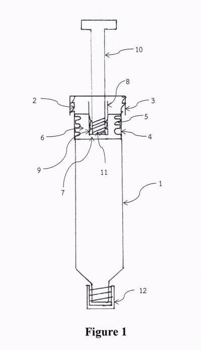
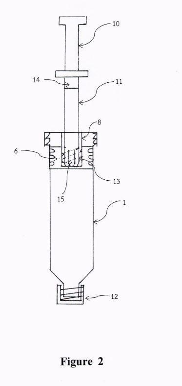
(57) ບົດສັງເຂບ
(LA)

The all-in-one injectable tube is a double screw cap tube, which offers two openings. The
top of the tube has outer ridge for a screw cap and inner ridge for a tripleJock stopper.
This stopper features a thread that meshes with the inner ridge ofthe tube for a secure seal In addition, the tripleJock stopper has a hole, located at the upper middle area. The hole on the triple-lock stopper is designed to fit a hollow plastic cylinder. For the inside area ofthe hollow cylinder, the top halfhas a smooth surfhce and the bouomhalfhas a helical ridge surface. Through the unique design ofthe helical ridge surface, the tripleJock stopper can be connected

(58) ການ​ຮຽກຮ້ອງ
ປະເພດຂອງເອກະສານ ວັນທີ ການດໍາເນີນການ
ຊື່ຂອງລາຍການວັນ​ທີສະຖານະ
Filing28.06.2021Filed
Registration24.02.2023Registered
Publication24.02.2023Published