ປະ​ເພດ​ຄຳ​ຮ້ອງ
Petty Patent
ປະ​ເພດ​ຄຳ​ຮ້ອງຍ່ອຍ
Petty Patent
(10) ເລກທີ ແລະ ວັນທີການຈົດທະບຽນ
24.10.2022
ສະຖານະ
Registered
(180) ມື້​ໝົດ​ອາຍຸ
20.08.2031
(20) ​ເລກທີ ​ແລະ ມື້ ຍື່ນ​ຄຳ​ຮ້ອງ
LA E/79 20.08.2021
(40) ​ເລກທີ ​ແລະ ວັນ​ທີ​ເຜີຍ​ແຜ່
LA E/79
28.10.2022
(86) ເລກທີ ແລະ ວັນທີ ເອກະສານ PCT
(87) and Date ເລກທີ ແລະ ວັນທີ່ ເຜີຍແຜ່ PCT
(85) ວັນ​ທີເອກະສານ​ເຂົ້າ
(30) ລາຍລະອຽດບຸລິມະສິດ
(51) ການຈັດ​ໝວດ​ໝູ່ IPC
(71/73) ຜູ້​ຍື່ນ​ຄຳ​ຮ້ອງ
(72) ຜູ້​ປະດິດສ້າງ
(LA) KUROSAKI Satoshi : c/o CORELEX SHIN-EI CO., LTD., 575-1, Nakanogo, Fuji-shi, Shizuoka 4213306 (JP)
(74) ຊຶ່ບໍລິສັດຕົວແທນ
(LA) Tilleke & Gibbins International Ltd : No. 302/1B, 3rd Floor, Vieng Vang Tower, Unit 15, Boulichan Road, Dongpalan Thong Village, Sisattanak District, Vientiane Capital, Lao PDR
(54) ຫົວຂໍ້
(LA) TOILET PAPER HOLDER
(EN) TOILET PAPER HOLDER
(57) ບົດສັງເຂບ
(LA)

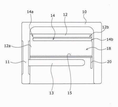
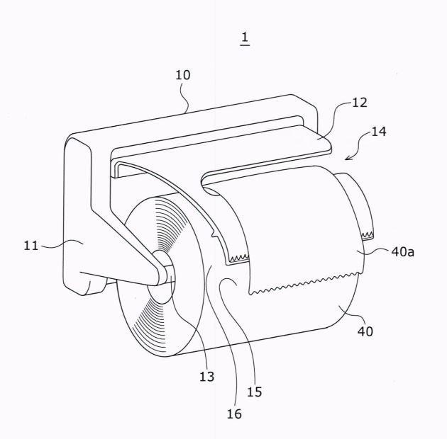
Provided is a toilet paper holder that makes it possible to tear off the desired length of toilet paper using one hand, and for the toilet paper to be held on the surface side of a cover pan after tearing occurs. A cover part l2 for covering the circumferential surface of toilet paper 40 is equipped with a pull-out section 14 through which the paper leading end section 40a is pulled out to the surface side
of the cover part 12, a cutter part 15 for tearing the pulled-out toilet paper, and a guide
part positioned between the pull-out section 14 and the cutter part 15, wherein the guide part is formed in a manner such that the paper leading end section 40a that pulls back in response to the tearing maintains a sufficient length so as to be held on the surface side of the cover part 12.

(58) ການ​ຮຽກຮ້ອງ
ປະເພດຂອງເອກະສານ ວັນທີ ການດໍາເນີນການ
ຊື່ຂອງລາຍການວັນ​ທີສະຖານະ
Filing20.08.2021Filed
Registration24.10.2022Registered
Publication28.10.2022Published