ປະ​ເພດ​ຄຳ​ຮ້ອງ
Petty Patent
ປະ​ເພດ​ຄຳ​ຮ້ອງຍ່ອຍ
Petty Patent
(10) ເລກທີ ແລະ ວັນທີການຈົດທະບຽນ
07.11.2024
ສະຖານະ
Registered
(180) ມື້​ໝົດ​ອາຍຸ
27.07.2032
(20) ​ເລກທີ ​ແລະ ມື້ ຍື່ນ​ຄຳ​ຮ້ອງ
LA E/88 27.07.2022
(40) ​ເລກທີ ​ແລະ ວັນ​ທີ​ເຜີຍ​ແຜ່
LA E/88
15.11.2024
(86) ເລກທີ ແລະ ວັນທີ ເອກະສານ PCT
(87) and Date ເລກທີ ແລະ ວັນທີ່ ເຜີຍແຜ່ PCT
(85) ວັນ​ທີເອກະສານ​ເຂົ້າ
(30) ລາຍລະອຽດບຸລິມະສິດ
(51) ການຈັດ​ໝວດ​ໝູ່ IPC
(72) ຜູ້​ປະດິດສ້າງ
(LA) GAO, Yang : No. 46, Zhanbei Road, Duanzhou District, Zhaoqing, Guangdong 526020, China
(LA) GENG, Xuequan : No. 46, Zhanbei Road, Duanzhou District, Zhaoqing, Guangdong 526020, China
(LA) LI, Zongwen : No. 46, Zhanbei Road, Duanzhou District, Zhaoqing, Guangdong 526020, China
(LA) LIU, Wei : No. 46, Zhanbei Road, Duanzhou District, Zhaoqing, Guangdong 526020, China
(LA) TANG, Jigui : No. 46, Zhanbei Road, Duanzhou District, Zhaoqing, Guangdong 526020, China
(LA) WANG, Hongchao : No. 46, Zhanbei Road, Duanzhou District, Zhaoqing, Guangdong 526020, China
(LA) XU, Zhaojiao : No. 46, Zhanbei Road, Duanzhou District, Zhaoqing, Guangdong 526020, China
(LA) ZHENG, Yuming : No. 46, Zhanbei Road, Duanzhou District, Zhaoqing, Guangdong 526020, China
(LA) ZHOU, Xiong : No. 46, Zhanbei Road, Duanzhou District, Zhaoqing, Guangdong 526020, China
(74) ຊຶ່ບໍລິສັດຕົວແທນ
(LA) ACTIP (LAO) IP CO., LTD. : Sisavath Village, Chanthabouly District, Vientiane, Lao PDR
(54) ຫົວຂໍ້
(LA) LONGITUDINAL WATERSTOP POSITIONING FIXTURE FOR TUNNEL CONSTRUCTION
(EN) LONGITUDINAL WATERSTOP POSITIONING FIXTURE FOR TUNNEL CONSTRUCTION
(57) ບົດສັງເຂບ
(LA)

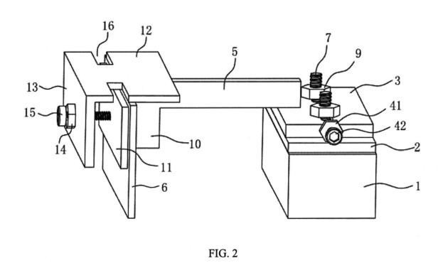
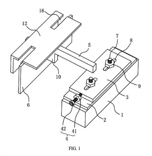
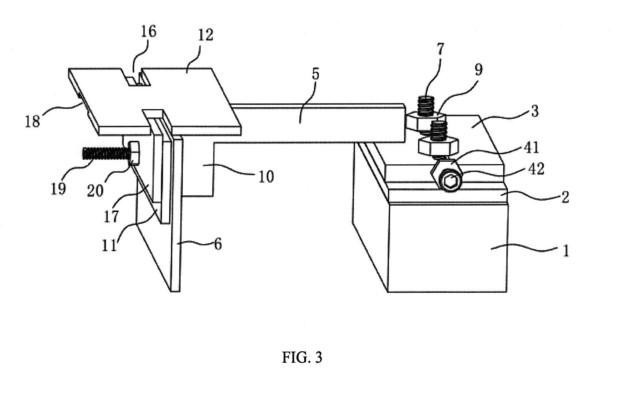
The present application discloses a longitudinal waterstop positioning fixture
for tunnel construction, which includes a base plate arranged on the short wall, a moving plate and a driving assembly driving the moving plate are arranged on the base plate, a connecting
rod is fixedly connected on the moving plate, one end of the connecting rod extends
out of the side of the moving plate and is connected with a clamping mechanism for clamping the
waterstop. The present application has the effect of making the installation of waterstop
straight and ensuring the installation position of waterstop accurate. 

(58) ການ​ຮຽກຮ້ອງ
ປະເພດຂອງເອກະສານ ວັນທີ ການດໍາເນີນການ
ຊື່ຂອງລາຍການວັນ​ທີສະຖານະ
Filing27.07.2022Filed
Registration07.11.2024Registered
Publication15.11.2024Published