ປະ​ເພດ​ຄຳ​ຮ້ອງ
Patent - Foreign
ປະ​ເພດ​ຄຳ​ຮ້ອງຍ່ອຍ
Patent - Foreign
(10) ເລກທີ ແລະ ວັນທີການຈົດທະບຽນ
09.02.2023
ສະຖານະ
Registered
(180) ມື້​ໝົດ​ອາຍຸ
02.03.2040
(20) ​ເລກທີ ​ແລະ ມື້ ຍື່ນ​ຄຳ​ຮ້ອງ
LA P/711 02.03.2020
(40) ​ເລກທີ ​ແລະ ວັນ​ທີ​ເຜີຍ​ແຜ່
LA P/711
10.02.2023
(86) ເລກທີ ແລະ ວັນທີ ເອກະສານ PCT
(87) and Date ເລກທີ ແລະ ວັນທີ່ ເຜີຍແຜ່ PCT
(85) ວັນ​ທີເອກະສານ​ເຂົ້າ
(30) ລາຍລະອຽດບຸລິມະສິດ
KR 10-2019-0025416
05.03.2019
(51) ການຈັດ​ໝວດ​ໝູ່ IPC
(72) ຜູ້​ປະດິດສ້າງ
(LA) KIM, Yong-seong : 163-2904, 99, Olympic-ro, Songpa-gu, Seoul, Republic of Korea
(74) ຊຶ່ບໍລິສັດຕົວແທນ
(LA) CONCETTI-LAO CO., LTD : Lao-Thai Friendship Road, Sokpaluang Village,Sisattanak District, Vientiane Lao PDR
(54) ຫົວຂໍ້
(LA) SMART SLOPE COLLAPSE ALARM DEVICE
(EN) SMART SLOPE COLLAPSE ALARM DEVICE
(57) ບົດສັງເຂບ
(LA)

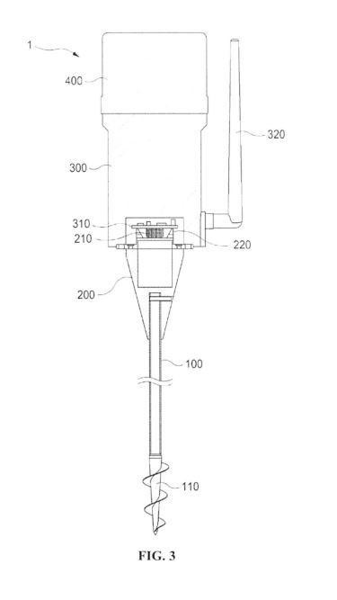
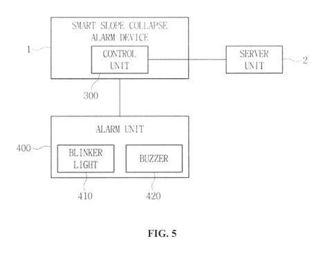
Provided is a smart slope collapse alarm device capable of securing an evacuation time for a slope disaster, and the smart slope collapse alarm device provided to a smart slope collapse alarm system configured with the smart slope collapse alarm device which is provided to be inserted into a slope to detect a behavior of the slope and a server unit which receives and stores a data measured by the smart slope collapse alarm device, analyzes a deformation behavior of the slope, and informs terminal of a manager of an abnormal situation when it is determined that the abnormal situation occurs to predict a collapse of the slope, the smart slope collapse alarm device including: a surface strain rate rod having a predetermined length and being provided to be inserted into the slope to detect the deformation behavior of the slope; a support unit being provided at one end of the surface strain rate rod so that the surface strain rate rod is inserted into the support unit, supporting the surface strain rate rod, and being provided with a connector clectrically connected to the surface strain rate rod at a center thereof; and a control unit configured with a circuit board which is electrically connected to the connector to process data about the deformation behavior of the slope detected by the surface strain rate rod and to control a power supply and an antenna which transmits the data to the server unit. With this configuration, the present invention has the advantage of being easily provided on the slope due to being manufactured in rod shape and being easily provided even on a solid ground not only due to the insertion portion being manufactured in a conical shape but also due to the formation of thc screw member the outer circumferential surface.

(EN)

Provided is a smart slope collapse alarm device capable of securing an evacuation time for a slope disaster, and the smart slope collapse alarm device provided to a smart slope collapse alarm system configured with the smart slope collapse alarm device which is provided to be inserted into a slope to detect a behavior of the slope and a server unit which receives and stores a data measured by the smart slope collapse alarm device, analyzes a deformation behavior of the slope, and informs terminal of a manager of an abnormal situation when it is determined that the abnormal situation occurs to predict a collapse of the slope, the smart slope collapse alarm device including: a surface strain rate rod having a predetermined length and being provided to be inserted into the slope to detect the deformation behavior of the slope; a support unit being provided at one end of the surface strain rate rod so that the surface strain rate rod is inserted into the support unit, supporting the surface strain rate rod, and being provided with a connector clectrically connected to the surface strain rate rod at a center thereof; and a control unit configured with a circuit board which is electrically connected to the connector to process data about the deformation behavior of the slope detected by the surface strain rate rod and to control a power supply and an antenna which transmits the data to the server unit. With this configuration, the present invention has the advantage of being easily provided on the slope due to being manufactured in rod shape and being easily provided even on a solid ground not only due to the insertion portion being manufactured in a conical shape but also due to the formation of thc screw member the outer circumferential surface.

(58) ການ​ຮຽກຮ້ອງ
ປະເພດຂອງເອກະສານ ວັນທີ ການດໍາເນີນການ
ຊື່ຂອງລາຍການວັນ​ທີສະຖານະ
Filing02.03.2020Filed
Registration09.02.2023Registered
Publication10.02.2023Published