ປະ​ເພດ​ຄຳ​ຮ້ອງ
Patent - Foreign
ປະ​ເພດ​ຄຳ​ຮ້ອງຍ່ອຍ
Patent - PCT National Phase
(10) ເລກທີ ແລະ ວັນທີການຈົດທະບຽນ
16.05.2023
ສະຖານະ
Registered
(180) ມື້​ໝົດ​ອາຍຸ
18.12.2040
(20) ​ເລກທີ ​ແລະ ມື້ ຍື່ນ​ຄຳ​ຮ້ອງ
LA P/748 18.12.2020
(40) ​ເລກທີ ​ແລະ ວັນ​ທີ​ເຜີຍ​ແຜ່
LA P/748
19.05.2023
(86) ເລກທີ ແລະ ວັນທີ ເອກະສານ PCT
(87) and Date ເລກທີ ແລະ ວັນທີ່ ເຜີຍແຜ່ PCT
(85) ວັນ​ທີເອກະສານ​ເຂົ້າ
(30) ລາຍລະອຽດບຸລິມະສິດ
(72) ຜູ້​ປະດິດສ້າງ
(LA) SAWADA Taiichi : c/o CDS Nu Steel Home International Ltd., AsakasarAaiichi Bldg. 614, 19-17, Kaminarimon 2-chome, Taito-ku, Toyo 1110034, Japan
(74) ຊຶ່ບໍລິສັດຕົວແທນ
(LA) Ageless Lao Sole Co., Ltd : Thongsangnang Village, Chanthabuly Dist., Vientaine, Lao PDR
(54) ຫົວຂໍ້
(LA) BUILDING FRAME, BUILDING FRAME STRUCTURE, BUILDING PANEL STRUCTURE, AND METHOD FOR CONSTRUCTING BUILDING
(57) ບົດສັງເຂບ
(LA)

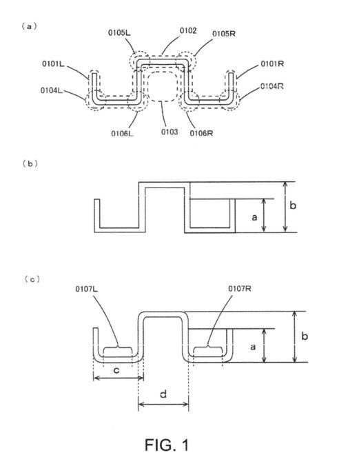
To provide a building frame for constructing a building, the frame being stronger than reinforced concrete, and being able to be relatively easily assembled at a construction site, without skills, and within a short time. [Solution] Provided are a building frame and the like, the building frame being characterized by comprising: U-shaped parts that are arranged left and right so as to sandwich a center space in a cross-sectional view; and a connection part that connects top portions, on the center side, of the left and right U-shaped parts so as to form a reverse U-shaped part, wherein the longitudinal edges, on the far side from the center, of the U-shaped parts arranged left and right in the cross-sectional view are shorter than the longitudinal edges, on the center side, connected by the connection part.

(58) ການ​ຮຽກຮ້ອງ
ປະເພດຂອງເອກະສານ ວັນທີ ການດໍາເນີນການ
ຊື່ຂອງລາຍການວັນ​ທີສະຖານະ
Filing18.12.2020Filed
Registration16.05.2023Registered
Publication19.05.2023Published