ປະ​ເພດ​ຄຳ​ຮ້ອງ
Patent - Foreign
ປະ​ເພດ​ຄຳ​ຮ້ອງຍ່ອຍ
Patent - PCT National Phase
(10) ເລກທີ ແລະ ວັນທີການຈົດທະບຽນ
20.02.2025
ສະຖານະ
Registered
(180) ມື້​ໝົດ​ອາຍຸ
14.02.2040
(20) ​ເລກທີ ​ແລະ ມື້ ຍື່ນ​ຄຳ​ຮ້ອງ
LA P/797 14.02.2020
(40) ​ເລກທີ ​ແລະ ວັນ​ທີ​ເຜີຍ​ແຜ່
LA P/797
21.02.2025
(86) ເລກທີ ແລະ ວັນທີ ເອກະສານ PCT
(87) and Date ເລກທີ ແລະ ວັນທີ່ ເຜີຍແຜ່ PCT
(85) ວັນ​ທີເອກະສານ​ເຂົ້າ
(30) ລາຍລະອຽດບຸລິມະສິດ
JP 2019-026110
15.02.2019
(51) ການຈັດ​ໝວດ​ໝູ່ IPC
(72) ຜູ້​ປະດິດສ້າງ
(LA) HAYASHI Junichi : c/o Kudamatsu Plant, Toyo kohan Co., Ltd., 1302-1, Higashitoyoi, Kudamatsu-shi, Yamaguchi, 7448611 JAPAN
(74) ຊຶ່ບໍລິສັດຕົວແທນ
(LA) Tilleke & Gibbins International Ltd : No. 302/1B, 3rd Floor, Vieng Vang Tower, Unit 15, Boulichan Road, Dongpalan Thong Village, Sisattanak District, Vientiane Capital, Lao PDR
(54) ຫົວຂໍ້
(LA) MANUFACTURING METHOD OF HARD DISK SUBSTRATE
(EN) MANUFACTURING METHOD OF HARD DISK SUBSTRATE
(57) ບົດສັງເຂບ
(LA)

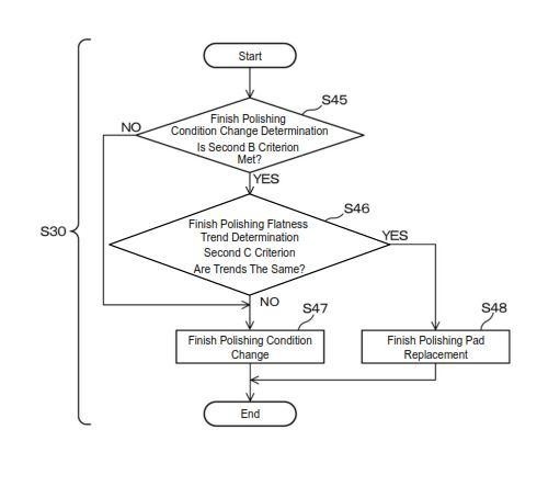
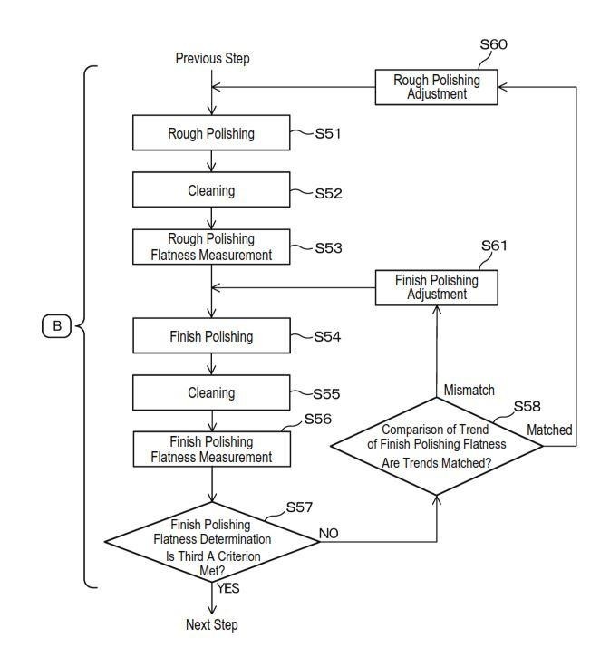
A production method for a hard disk board 10. The production method: makes it possible to achieve high-precision polishing by quickly selecting to change polishing conditions or replace a polishing pad on the basis of the flatness of the hard disk board 10; and suppresses the occurrence of defects in the hard disk board 10. The production method includes: a polishing step (S21) in which the hard disk board 10 is polished; a polished flatness measurement step (S24) in which the polished flatness of the hard disk board is measured; a polished flatness determination step (S41) in which the trend in the polished flatness of the hard disk board is calculated from the results of the measurement, and it is determined whether the trend in the polished flatness meets a 1A standard; and a polishing adjustment step (S25) in which, on condition that the trend in the polished flatness does not meet the 1A standard, it is determined (S42) whether changing the polishing conditions of the polishing step would make the trend in the polished flatness meet a 1C standard, and, on the basis of the results of the determination of whether the 1C standard would be met, the polishing conditions are changed (S43) or a polishing pad is replaced (S44).

(58) ການ​ຮຽກຮ້ອງ
ປະເພດຂອງເອກະສານ ວັນທີ ການດໍາເນີນການ
ຊື່ຂອງລາຍການວັນ​ທີສະຖານະ
Filing14.02.2020Filed
PCT National Phase Entry13.09.2021PCT National Phase
Registration20.02.2025Registered
Publication21.02.2025Published