ປະ​ເພດ​ຄຳ​ຮ້ອງ
Patent - Foreign
ປະ​ເພດ​ຄຳ​ຮ້ອງຍ່ອຍ
Patent - PCT National Phase
(10) ເລກທີ ແລະ ວັນທີການຈົດທະບຽນ
07.11.2024
ສະຖານະ
Registered
(180) ມື້​ໝົດ​ອາຍຸ
18.11.2040
(20) ​ເລກທີ ​ແລະ ມື້ ຍື່ນ​ຄຳ​ຮ້ອງ
LA P/836 18.11.2020
(40) ​ເລກທີ ​ແລະ ວັນ​ທີ​ເຜີຍ​ແຜ່
LA P/836
15.11.2024
(86) ເລກທີ ແລະ ວັນທີ ເອກະສານ PCT
(87) and Date ເລກທີ ແລະ ວັນທີ່ ເຜີຍແຜ່ PCT
(85) ວັນ​ທີເອກະສານ​ເຂົ້າ
(30) ລາຍລະອຽດບຸລິມະສິດ
(51) ການຈັດ​ໝວດ​ໝູ່ IPC
(72) ຜູ້​ປະດິດສ້າງ
(LA) HASEGAWA, Tomoya : c/o YOSHINO GYPSUM CO., LTD., Shin-Tokyo Bldg., 3-1, Marunouchi 3-Chome, Chiyoda-ku, Tokyo 100-0005 Japan
(LA) SUDO, Ushio : c/o YOSHINO GYPSUM CO., LTD., Shin-Tokyo Bldg., 3-1, Marunouchi 3-Chome, Chiyoda-ku, Tokyo 100-0005 Japan 1000005
(LA) WATANABE, Yusuke : c/o YOSHINO GYPSUM CO., LTD., Shin-Tokyo Bldg., 3-1, Marunouchi 3-Chome, Chiyoda-ku, Tokyo 100-0005 Japan
(LA) YAMASHITA, Takuji : c/o YOSHINO GYPSUM CO., LTD., Shin-Tokyo Bldg., 3-1, Marunouchi 3-Chome, Chiyoda-ku, Tokyo 100-0005 Japan
(74) ຊຶ່ບໍລິສັດຕົວແທນ
(LA) Tilleke & Gibbins Lao Co., Ltd : No. 302/1B, 3rd Floor, Vieng Vang Tower, Unit 15Boulichan Road, Donpalan Thong Village, Sisattanak District, Vientiane, Lao PDRTelephone: 021 262355 Mobile: - Fax: 021 262356
(54) ຫົວຂໍ້
(LA) CLIP, CEILING BASE, AND METHOD FOR CONSTRUCTING SAME
(EN) CLIP, CEILING BASE, AND METHOD FOR CONSTRUCTING SAME
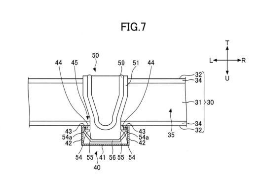
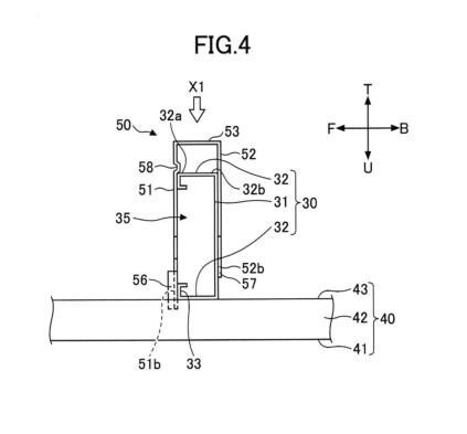
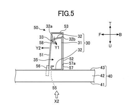
(57) ບົດສັງເຂບ
(LA)

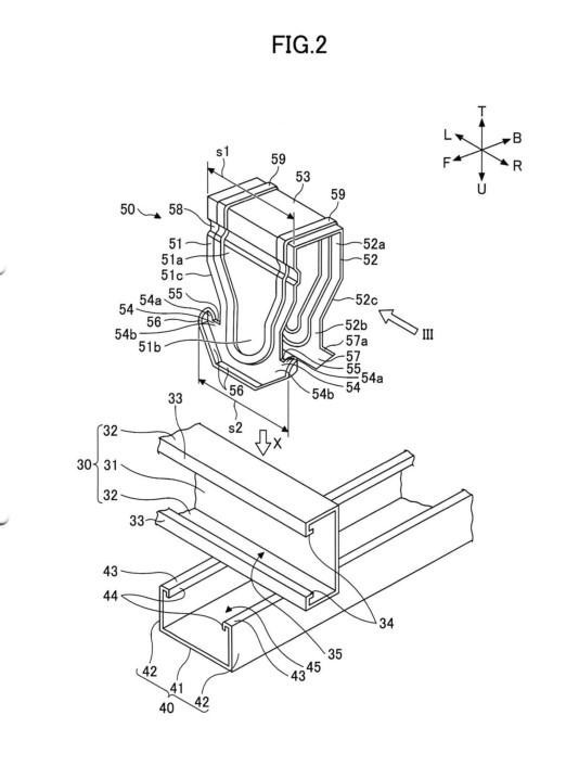
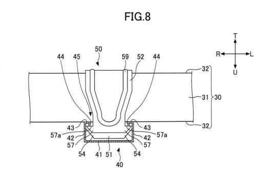
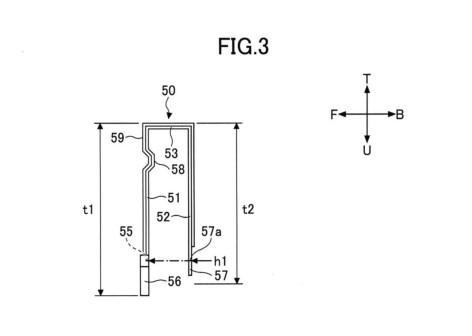
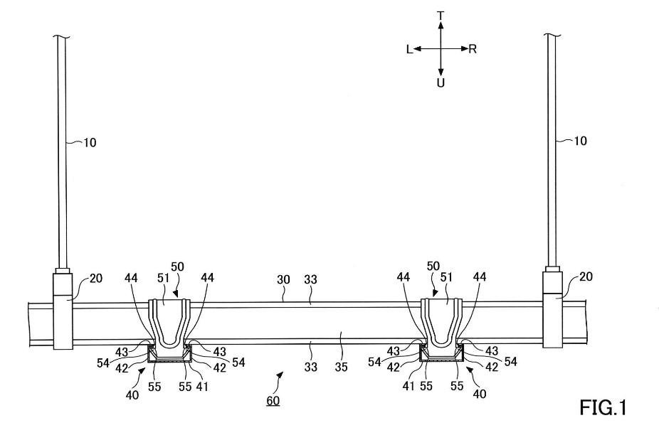
Provided are: a clip having good bworkability and with which it is possible to suppress or prevent
detachment of a ceiling surface material when a building vibrates; a ceiling base using the clip; and
a method for installing the ceiling base. A clip 50 for securing a  joist  40 to a  joist  bearing 30, the clip 50 having: a top piece 53 that has the width of the  joist  piece 5l that hangs from one end ofthe top piece 53 and comprises therebelow a first engagement projection 54 that engages
with the  joist  40; and a second hanging piece 52 that hangs from the other end of the top
piece 53 and comprises therebelow a second engagement projection 57 that is locked to
thejoist 40, the first hanging piece 5l having a greater length than the second bearing 30; a first
hanging hanging piece 52, a recessed section 58 that projects
in the direction of the second hanging piece 52 being provided in the midway position of
the first hanging piece 51, only the first engagement projection 54 comprising an engagement cavity 55 that is concave downward at the projecting base of the first engagement projection
54, and a reinforcement rib 56 being provided on the outer side of at least the engagement cavity
55.

(EN)

Provided are: a clip having good workability and with which it is possible to suppress or prevent detachment of a ceiling surface material when a building vibrates; a ceiling base using the clip; and a method for installing the ceiling base. A clip 50 for securing a joist 40 to a joist bearing 30, the clip 50 having: a top piece 53 that has the width of the joist bearing 30; a first hanging piece 51 that hangs from one end of the top piece 53 and comprises therebelow a first engagement projection 54 that engages with the joist 40; and a second hanging piece 52 that hangs from the other end of the top piece 53 and comprises therebelow a second engagement projection 57 that is locked to the joist 40, the first hanging piece 51 having a greater length than the second hanging piece 52, a recessed section 58 that projects in the direction of the second hanging piece 52 being provided in the midway position of the first hanging piece 51, only the first engagement projection 54 comprising an engagement cavity 55 that is concave downward at the projecting base of the first engagement projection 54, and a reinforcement rib 56 being provided on the outer side of at least the engagement cavity 55.

(58) ການ​ຮຽກຮ້ອງ
ປະເພດຂອງເອກະສານ ວັນທີ ການດໍາເນີນການ
ຊື່ຂອງລາຍການວັນ​ທີສະຖານະ
Filing18.11.2020Filed
PCT National Phase Entry23.06.2022PCT National Phase
Registration07.11.2024Registered
Publication15.11.2024Published