ປະ​ເພດ​ຄຳ​ຮ້ອງ
Patent - Foreign
ປະ​ເພດ​ຄຳ​ຮ້ອງຍ່ອຍ
Patent - Foreign
(10) ເລກທີ ແລະ ວັນທີການຈົດທະບຽນ
20.09.2024
ສະຖານະ
Registered
(180) ມື້​ໝົດ​ອາຍຸ
09.12.2042
(20) ​ເລກທີ ​ແລະ ມື້ ຍື່ນ​ຄຳ​ຮ້ອງ
LA P/877 09.12.2022
(40) ​ເລກທີ ​ແລະ ວັນ​ທີ​ເຜີຍ​ແຜ່
LA P/877
24.10.2024
(86) ເລກທີ ແລະ ວັນທີ ເອກະສານ PCT
(87) and Date ເລກທີ ແລະ ວັນທີ່ ເຜີຍແຜ່ PCT
(85) ວັນ​ທີເອກະສານ​ເຂົ້າ
(30) ລາຍລະອຽດບຸລິມະສິດ
SG 10201408425Q
05.01.2011
(71/73) ຜູ້​ຍື່ນ​ຄຳ​ຮ້ອງ
(72) ຜູ້​ປະດິດສ້າງ
(LA) VILLEMOES, Lars - Danish : Mandolinvagen 22, S-175 56 Jarfalla, Sweden
(74) ຊຶ່ບໍລິສັດຕົວແທນ
(LA) ACTIP (LAO) IP CO, LTD. : Sisavath Viltage, Chanthabouly District, Vientiane, Lao PDR
(54) ຫົວຂໍ້
(LA) IMPROVED SUBBAND BLOCK BASED HARMONIC TRANSPOSITION
(EN) IMPROVED SUBBAND BLOCK BASED HARMONIC TRANSPOSITION
(57) ບົດສັງເຂບ
(LA)

The present document relates to audio source coding systems which make use of a
harmonic transposition method for high frequency reconstruction (HFR), as well as to digital

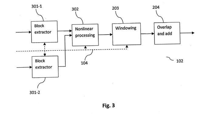
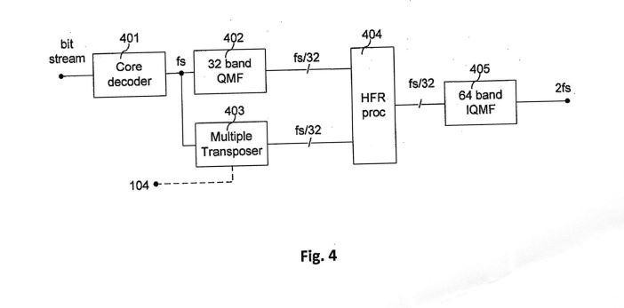
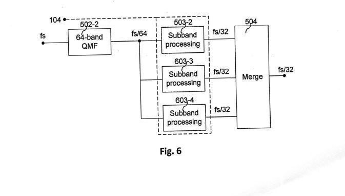
effectprocessors,e.g.exciters,wheregenerationofharmonicdistortionaddbrightnesstothe processedsignal,andtotimestretcherswhereasignaldurationisprolongedwithmaintained spectral content. A system and method configured to genemte a time stretched and'/or frequency transposed signal from an input signal is described' The system comprises an analysis filterbank (101) confrgured to provide an analysis subband signal from the input signal; wherein the analysis subband signal comprises a plurality of complex valued analysis samples, each having a phase and a magnitude' Furthermore' the system comprises a subband processing unit (102) configured to determine a synthesis subband signal from the analysis subband signal using a subband transposition factor Q and a subband stretch factor S ' The subbandprocessingunit(102)performsablockbasednonlinearprocessingwhereinthe magnitudeofsamplesofthesynthesissubbandsigralaredeterminedfromthemagnitudeof corresponding samples of the analysis subband sigral and a predetermined sample of the analysis subband signal' In addition' the system comprises a synthesis filte$ank (103) configured to generate the time stretched and/or frequency transposed signal from the synthesis subband signal'

(58) ການ​ຮຽກຮ້ອງ
ປະເພດຂອງເອກະສານ ວັນທີ ການດໍາເນີນການ
ຊື່ຂອງລາຍການວັນ​ທີສະຖານະ
Filing09.12.2022Filed
Registration20.09.2024Registered
Publication24.10.2024Published