ປະ​ເພດ​ຄຳ​ຮ້ອງ
Patent - Foreign
ປະ​ເພດ​ຄຳ​ຮ້ອງຍ່ອຍ
Patent - Foreign
(10) ເລກທີ ແລະ ວັນທີການຈົດທະບຽນ
09.10.2024
ສະຖານະ
Registered
(180) ມື້​ໝົດ​ອາຍຸ
14.11.2043
(20) ​ເລກທີ ​ແລະ ມື້ ຍື່ນ​ຄຳ​ຮ້ອງ
LA P/931 14.11.2023
(40) ​ເລກທີ ​ແລະ ວັນ​ທີ​ເຜີຍ​ແຜ່
LA P/931
24.10.2024
(86) ເລກທີ ແລະ ວັນທີ ເອກະສານ PCT
(87) and Date ເລກທີ ແລະ ວັນທີ່ ເຜີຍແຜ່ PCT
(85) ວັນ​ທີເອກະສານ​ເຂົ້າ
(30) ລາຍລະອຽດບຸລິມະສິດ
SG 11202103196U
25.09.2019
(51) ການຈັດ​ໝວດ​ໝູ່ IPC
(72) ຜູ້​ປະດິດສ້າງ
(LA) RAOK, NARASIMHA : 133/1/B, 1ST FLOOR, PHASE-II, INDIA, CHERLAPALLY, GHATKESAR MANDAL, RANGAREDDY DIST, HYDERABAD 50051 TELANGANA, INDIA
(74) ຊຶ່ບໍລິສັດຕົວແທນ
(LA) HAVIP (LAOS) INTELLECTUAL PROPERTY LAW SOLE CO., LTD : Ban Dongmieng, Unit 26, Chanthabouly District, Vientaine Capital Lao PDR
(54) ຫົວຂໍ້
(LA) ລະບົບການຕິດຕາມກວດກາໝໍ້ແບ່ງອັດສະລິຍະ
(EN) INTELLIGENT TRANSFORMER MONITORING SYSTEM
(57) ບົດສັງເຂບ
(LA)

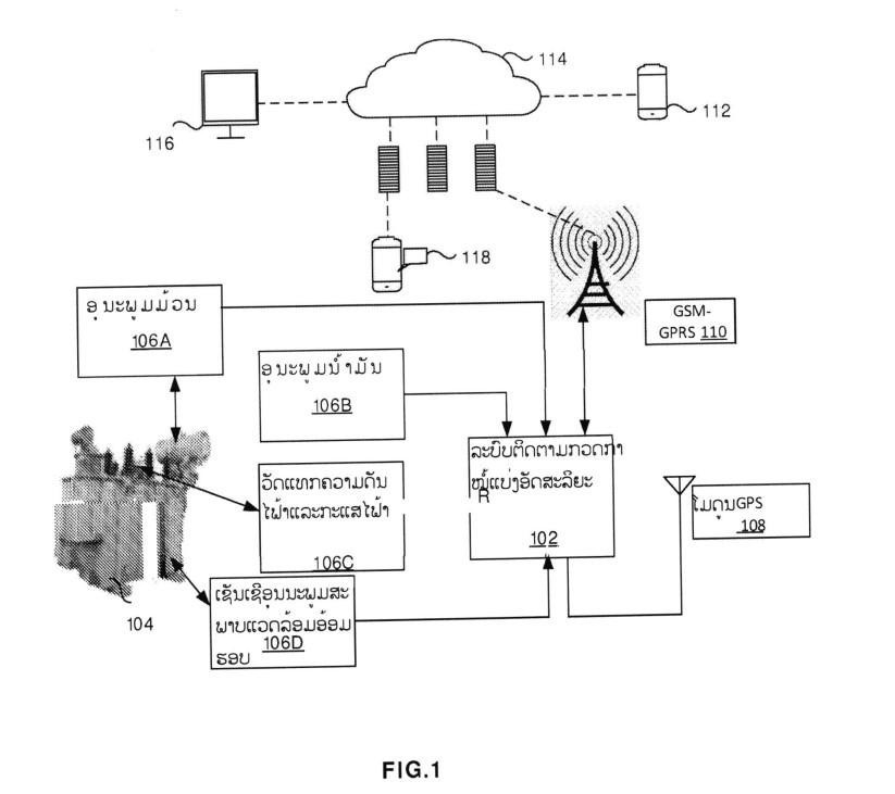
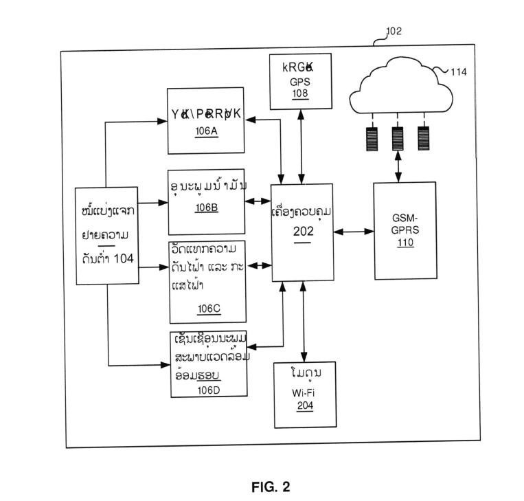
ລະບົບຕິດຕາມກວດກາໝໍ້ແປງອັດສະລິຍະເພື່ອກວດຫາ ແລະ ຕິດຕາມກວດກາຫາຄວາມຜິດພາດແບບສຸ່ມໃນໝໍ້ແບ່ງໄຟຟ້າ ເນື່ອງຈາກການນໍາໃຊ້ບໍ່ຖືກຕ້ອງ ແລບະ ການບໍາລຸງຮັກສາບໍ່ດີ. ລະບົບຕິດຕາມກວດກາໝໍ້ແປງອັດສະລິຍະປະກອບມີ GSM-GPRS, ໂມດູນການວັດແທກ ແລະ ເຄື່ອງມື, ໂມດູນການຄວບຄຸມສະວິກໄຟຟ້າ, ການວັດແທກພະລັງງານ  Trivector,  ແລະ ໂມດູນ GPS. GSM-GPRS ປະກອບມີລະບົບຄວບຄຸມຂະໜາດນ້ອຍພ້ອມກັບໂມເດັມ csM-GpRS ເພື່ອເປີດໃຊ້ການສື່ສານທາງໄກ GSM-GpRS. ໂມດູນການວັດແທກ ແລະ ເຄື່ອງມືປະກອບມີສິບເອັດຊ່ອງທາງການວັດແທກອຸນຫະພູມທີມີ 8 ເຊັນເຊີອຸນຫະພູມດິຈິຕອນ ແລະ 3-RTD. ໂມດູນຄວບຄຸມສະວິກໄຟຟ້າປະກອບມີ 4 SPDT ສະວິກເພື່ອຈັດການຄວບຄຸມຜົນຜະລິດເຊັ່ນ: ການເດີນທາງການໂຫຼດ ແລະ ມໍເຕີເຢັນ ແລະ ອື່ນໆ. ໂມດູນ  GpS ໄດ້ຮັບຂໍ້ມູນເສັ້ນຂະໜານ, ເສັ້ນແວງ ແລະ ຂໍ້ມູນເວລາຈາກດາວທຽມ ເພື່ອແບ່ງປັນກໍານົດທີ່ຕັ້ງ. ໂມດູນການໜອງພະລັງງານແມ່ນການສະໜອງພະລັງງານ AC / DC SMPS ເພື່ອປ່ຽນ 240V / 415V AC ເປັນ12 VDC ສໍາລັບລະບົບຕິດຕາມກວດກາໝໍ້ແບ່ງອັດສະລິຍະ.

(EN)

An intelligent transftrrmer monitoring system to detect and monitor random failures in distribution transformers due to improper usage and poor maintenance is provided. The intelligent transformer monitoring system includes a GSM-GPRS, a measurement and instrumentation module, a control relay module, a Trivector energy measurement, and a GPS module. The GSM-GpRS includes microcontroller along with GSM-GPRS modem in order to execute remote communication on GSM-GPRS. The Measurement and Instrumentation module includes eleven temperature measurement channels with 8-digital temperature sensors and 3-RTD. The control relay module includes 4 SPDT relays to execute output controls such as load trip and cooling motor etc. The GPS module acquires the latitude, longitude and time data from the satellite for location sharing. The Power supply module is an AC/DC SMPS power supply to convert 24OYl4l5y AC to I2VDC for the intelligent transformer monitoring system.

(58) ການ​ຮຽກຮ້ອງ
ປະເພດຂອງເອກະສານ ວັນທີ ການດໍາເນີນການ
ຊື່ຂອງລາຍການວັນ​ທີສະຖານະ
Filing14.11.2023Filed
Registration09.10.2024Registered
Publication24.10.2024Published